

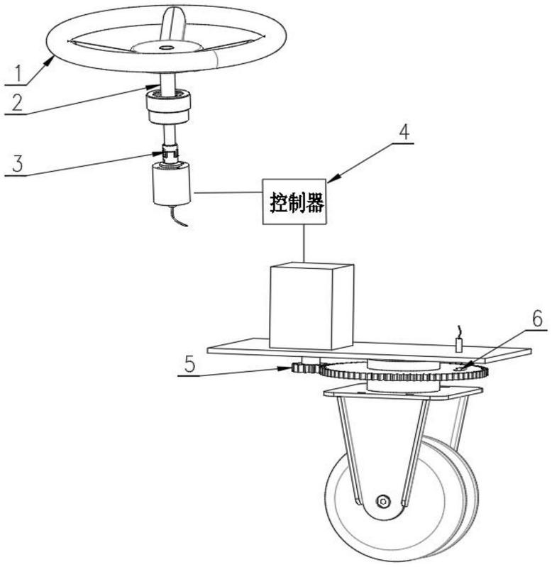
本实用新型涉及洗地机技术领域,具体为一种驾驶式洗地机电动转向机构,包括方向盘件(1),所述方向盘件(1)的底部连接有方向盘安装杆(2),所述方向盘安装杆(2)的外部设置有方向盘轴承固定座(7),所述方向盘安装杆(2)的远离方向盘件(1)的一端连接有联轴器(3),所述联轴器(3)的远离方向盘安装杆(2)的一端连接有旋转编码器(8),所述旋转编码器(8)电性连接有转向电机控制器(4),所述转向电机控制器(4)电性连接有转向电机体(9),所述转向电机体(9)的工作端连接有转向电机连接小齿盘(5);本实用新型大大节省了人力的强度,在操作时甚至可以仅凭手指轻轻一拨就能轻松完成转向工作,真正意义上实现电动转向省力更高效率。
